Neue Artikel Mahle DC-Motor Gleichstrommotor 24V/3,0kw Iskra MM465 IM0530 11218379 AMP4549 11216761 AMP4538 6502990102 65029990102 1.134,45 €
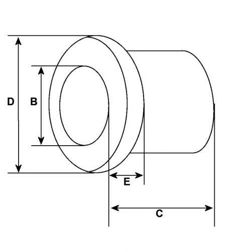
Zuletzt angesehen Buchse Kollektorbuchse f.Anlasser AD mm 18.20/22.00 ID mm 10.00 Länge mm 15.00 Manschettehöhe mm 2.45 O.D der Kragen 22.00 12,00 €