Kohlebürsten 12V f.Denso Anlasser 028531-5651 028531-5650 028000-4800 028000-5000 028000-5300
028000-5301 028000-5510 028000-5511 028000-5520 028000-5530 028000-5531
Bestellnummer:140361
Namen/Nummern dienen nur Vergleichszwecken!
Replacing:
Denso 028531-5651 028531-5650 028531-0632 028099-3570 028099-3560
Hino 2814a-77090
Japanese jndsx-31 jasx88
Lucas taj407
Toyota 28140-77090
Servicing:
Denso 028000-4800 028000-5000 028000-5300 028000-5301 028000-5510 028000-5511
028000-5520 028000-5530 028000-5531
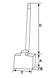
Volt 12, Länge mm 21.00, Dicke mm 8.00, Höhe mm 25.00, Leiterlänge 1 40.80
Bemerkungen Kohlen mit platte: 141223
12 V, Length 21.00, Lead length 40.80,Height 25.00, Thickness 8.00 Brush set w/ plate:141223
