Kohlebürsten 12V f.Hitachi Anlasser 2120-7311 2120-5312/7311 S12-19 S12-19K S12-23
S12-24A S12-32 S12-34 S12-41A S12-47 S12-59
Bestellnummer:140376
Namen/Nummern dienen nur Vergleichszwecken!
Replacing:
Hitachi 2120-7311 2120-5312/7311 2120-4311 2120-1312 2120-1311
Isuzu 9-82111652-0 9-82111651-0 9-82111647-0 9-82111646-0
Japanese jhtsx-11 jasx56-3
Nissan 23379-65000
Servicing:
Hitachi S12-19 S12-19K S12-23 S12-24A S12-32 S12-34 S12-41A S12-47 S12-59
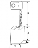
12 V, Length 22.30, Lead length 35.00,Height 14.25, Thickness 7.85
