Kohlen 12V f.Elmot Lichtmaschine 3414620 A115 A133 A115 A133
Kohlen 12V f.Elmot Lichtmaschine 3414620 A115 A133 A115 A133
Bestellnummer:140444
Ref.-Nr.: (Ref.-Nr.dienen lediglich Vergleichszwecken)
Replacing:
Elmot 3414620
Lucas ULB113 ULB106 ULB104 60600967 60600786 60600779
Servicing:
Elmot A115 A133
Lucas A115 A133 23969A 23969B 23970A 23970B 23971A 24010A 24010B 24011A
24011B 24041 24041A 24041F 24046A
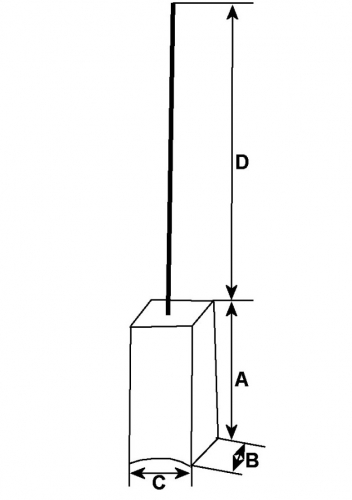
Höhe mm 7.00, Länge mm 20.00/22.00, Dicke mm 4.00, Volt 14, Leiterlänge mm 36.50
14 Volt, Length 20.00/22.00,Lead length 36.50, Height 7.00,Thickness 4.00
