Hitachi L225G-1325 L180-1335 L150N-13261 L150-73251 L150-13251 L135-6326
L125N-13261 L125N-13251
Isuzu 5-81215013-0 5-81215012-0
Nissan 23142-50405 23142-20w00 23142-06800 23135-h0300 23135-99001 23135-99000
23135-66610 23135-01b00 23134-61500
Subaru 49574-7301 49526-7301 49526-7101 39533-2511 39526-2511
Hitachi LR120-15B LR120-15C LR120-16B LR120-23 LR125-34 LR125-37 LR125-40
LR125-40B LR135-102 LR135-104 LR135-105
Lucas
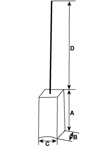
Höhe mm 7.00, Länge mm 16.50, Dicke mm 5.00, Volt 14, Leiterlänge mm 61.50
14 Volt, Length 16.50,Lead length 61.50, Height 7.00,Thickness 5.00
