Kohlen Kohlebürsten f.Valeo Lichtmaschine 300821 2104248 2181699 2181726 2181727 2181730 2183106 2518028 2518044 2518046 2518054
Kohlen Kohlebürsten f.Valeo Lichtmaschine 300821 2104248 2181699 2181726 2181727 2181730 2183106
2518028 2518044 2518046 2518054 2518057 2518058 2518085
Bestellnummer: SVX72
Referenznummern dienen nur zur Information !
Replacing:
Motorola 300821
SEV SVX79
Valeo 300821
Servicing:
Valeo 2104248 2181699 2181726 2181727 2181730 2183106 2518028 2518044
2518046 2518054 2518057 2518058 2518085
Motorola 2541163 2940060 2940080 2940275 2940356 2940359 2940409 9AL2510
9AL2538K 9AL2590K 9AL2595K 9AL2615 9AL2685K
SEV 26641 26642 26650 26651 34810 71226802 71228102 71229002 71270002
71270202 71270302 71271202 71312002
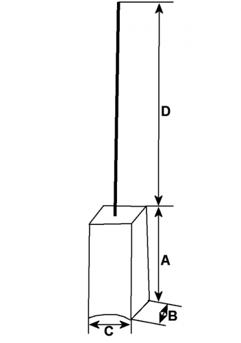
12/24 Volt, Length 14.50,Lead length 50.00, Height 6.40,Thickness 4.60
Höhe mm 6.40, Länge mm 14.50, Dicke mm 4.60, Volt 14 - 28, Leiterlänge mm 50.00
