Bestellnummer:140088
Ref.-Nr.: (Ref.-Nr.dienen lediglich Vergleichszwecken)
Bosch 1900905227
Delco Remy 3472836
Ducellier 581247
Efel 85219
FAG 62032zrc3
Iskra 16.906.075 16906075
Lucas UTB108
Motorola 511-009 511-003
SEV 71900003 70900903 70900503 70900403
SKF 6203zz
Valeo 100873 094360 071669 057385
Servicing:
Bosch
Delco Remy
Ducellier
Iskra
Lucas
Motorola
SEV
Valeo
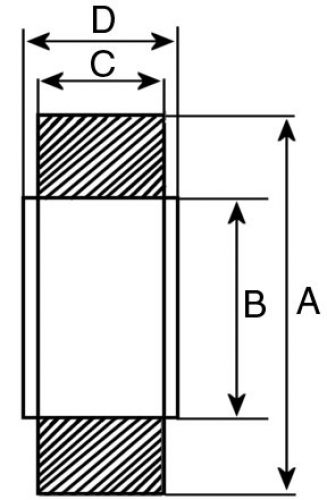
ID mm 17.00, AD mm 40.00, Höhe 1 12.00
ID 17.00, OD 40.00, Height 12.00
Alternative no.: 333113, 142303