Hella 5DR009728-251
Mobiletron VR-PR2292H
Valeo YR1616VFP1 YM2660VP2F YM1687VFP1 YM1672VFP1
YM1661VF4 YM1638P YM16 599316 595229 593942
Volkswagen 06b903803b 06b903803a 038903803k
Valeo 2542225 2542225A 2542225B 2542227 2542233 2542233A
2542233C 2542234 2542234A 2542237 2542237A 2542237D
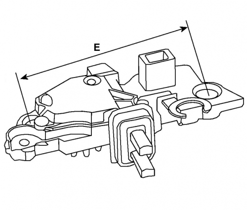
Volteinstellung 14.7, Volt 14, Reglertyp Elektronisch, Abs. Löcher mm 60.10, Regleranschluss PL61
14 Volt, 14.7 Volt setting,Dist. mount. holes 60.10,Regulator type Electronic

